中国管理科学
CSSCI
北大核心
CSCD
经济管理 / 商学与管理
投稿-录用
— —
投稿-拒稿
— —
录用-见刊
— —
版面费
¥ 3988 / 篇
审稿费
¥ 100 / 篇
稿酬
¥ 0 / 篇
更多信息
ISSN 1003-207X
主办单位 中国科学院科技政策与管理科学研究所等
编辑部TEL 010-62542629
编辑部邮箱 zgglkx@casipm.ac.cn
投稿方式 系统投稿
投稿地址 ——
其他 ——
点评 55 条
最新
最热
smilemingyue
我在这个期刊上发表过两个,一般流程是收稿,初审,第一外审,外审,主编终审,退修或者退稿。初审大概15天,第一外审也很快20天不到,但是外审时间长,一般都要两个月,主编终审要1个月,退休后很久都不会处理,等2个月左右就录用了,不会邮件通知,只能看系统。外审专家决定权大,喜欢金融建模这块,优化,供应链等。录用后大概12个月刊发。
2019-10-13 00:19
2 回复(4)
匿名用户
投稿人
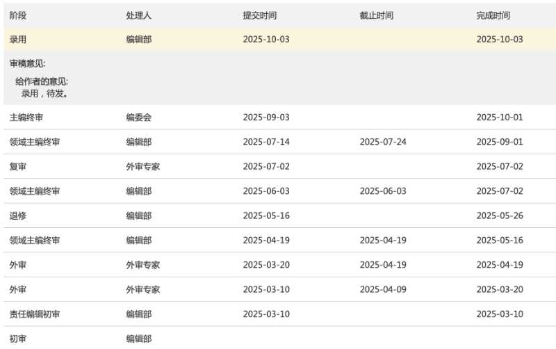
7个月录用
朋友们,请问录用之后、知网在线发表前,还可以修改作者顺序吗(目前刚收到录用通知,还没有发最终版本给编辑部)?之前给编辑部发邮件更改,但编辑部无回复。
2025-10-03 21:42
0 回复(0)
匿名用户
投稿人
一年以上录用
除了速度慢点儿没毛病,打电话给编辑部老师,特别耐心回答问题,好评!好好努力,以后还投!但是不知道收不收版面费
2025-09-09 08:44
0 回复(3)
匿名用户
投稿人
10个月拒稿
十个月退稿,经历了五个外审,其中一个拒审,三个大修一个退稿,领域主编给了退修的机会,然而复审中退稿的专家扔坚持退稿,随后又找了另一个外审专家审稿,该专家赞同退稿意见,最终被退…一言难尽
2025-08-25 17:32
0 回复(1)
匿名用户
有没有友友六月中旬投稿到现在还没完成初审的啊.....我看到别人不到一个月已经进入外审了,自己的还没退稿.....审稿也太慢了吧
2025-08-13 15:03
0 回复(3)
匿名用户
中国管理科学是南大核心期刊,去年2月初投稿,几天后通知交审稿费,三月中旬送审,一个多月后退修,四月底修回,大概五月中旬复审完成,随后经历了领域主编终审和主编终审,七月中旬通知修改格式,隔天修回,大概一个月后收到录用通知。希望各位有经验的小伙伴们来q群 41 81 27 92 1交流 多多分享有益的投稿经验 互帮互助。整体来说是比较好的期刊,推荐大家去投递试试。
2025-05-22 11:04
1 回复(0)
匿名用户
投稿人
一年以上拒稿
投稿到被拒,总共2年。中间邮箱联系不下三次,没有回复。打电话也不回复。最后终于打通了,说差一个审稿人。上午打通,当天找了另一个审稿人,第二天就拒稿了。另一个同学,从投稿开始,导师就打电话催进度,从投稿到见刊,半年。先不说文章质量,这个处理速度就……
2025-04-15 22:40
2 回复(1)
匿名用户
投稿人
不足一个月拒稿
这个期刊感觉可以拉黑了,没有建设性的意见,白交了100审稿费,不过退稿倒挺快的,两天。
2025-03-28 09:31
1 回复(1)
匿名用户
投稿人
7个月录用
100审稿费,二月初投稿,历经半年录用。中间两次修改,一次内容修改,一次格式修改。编辑部大概一个月处理一次,复审后需要领域主编终审和主编终审,所以可能要两个月的时间,所以最好一次修改到位。建议退修时按照期刊网络首发的风格进行双栏排版和控制页数,这样可以减少一次退修。
2024-08-30 21:25
2 回复(1)
c7d32516
要收一百审稿费才进行审稿,不是很合理。投稿差不多十来天被拒,审稿意见是论文是经济学的选题与研究范式,与该刊组织风格不符,建议我改投《经济研究》。。。what?
2024-08-19 16:22
0 回复(1)

未登录暂无法查看更多

  • 1
  • 2
  • 3
  • 4
  • 5
  • 6
点评
记录
收藏
解锁
纠错
END
微信公众号
微信小程序